

Earning the Arrow of Light “Engineering” adventure loop can be one of the most fun and exciting activities in scouting and highly educational, especially increased focus on STEM (Science, Technology, Engineering and Math). Did you know that one of the recommended adventure activities in the cub scout handbook is to have scouts build their own roller coaster? A theme park is a great place for the scouts to explore and learn about engineering and Fun Spot America Orlando is a perfect real world laboratory for this adventure. Earning the “Engineering” Adventure Loop at Fun Spot Orlando is as simple as watching a few YouTube videos, discussing some questions, riding a roller coaster and participating in the park’s “build your own roller coaster” activity (or doing your own at your next den or pack meeting). This is essentially a prepackaged adventure that is sure to be memorable for scouts.



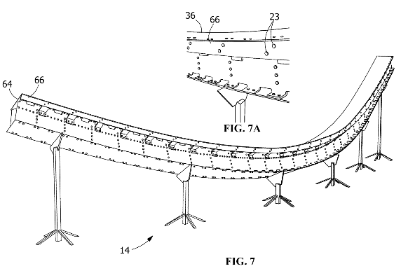
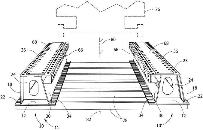
Fun Spot America Orlando is a great family theme park, just minutes from Universal and right off the interstate. It has thrill rides, family rides, go-karts, food and other fun attractions including a Gator Spot with tons of live alligators. It is also home to several great roller coasters including Orlando’s only wooden roller coaster, White Lightning. For the “Engineering” adventure White Lightning provides a great example of engineering for scouts to study and learn several basic engineering principles. The coaster was also renovated a couple of years ago to include sections of new “Titan” track. Titan track is a unique engineering design by Great Coasters International (GCI) in cooperation with Skyline Attractions that lets the ride track be assembled like a giant Erector set while also being durable and giving a smooth ride. Scouts can look both off ride and while riding to see if they can spot and maybe feel the difference of the Titan track. GCI was gracious enough to share several images for this post with us (logos in bottom left).



The “Engineering” adventure asks the scouts to investigate several different types of engineering such as civil, mechanical and electrical and all these are present at a theme park. Scouts also must examine blueprints which are provided for White Lightning in the form of the patent for GCI’s Titan track (included in the guide below).




The final part of the adventure asks the scouts to plan and build their own engineering project. The handbook suggests a model paper roller coaster as a potential activity, however Fun Spot America Orlando offers a “build your own roller coaster” activity that also satisfies the requirement. The activity includes a planning worksheet and a build using foam pool noodle “u-shaped” track with marbles. Plans for this activity are also in the guide below so you can also easily do it yourself at a future pack meeting.

The guide below primarily utilizes the “White Lightning” roller coaster. White Lightning is a moderately intense ride that may intimidate some scouts. If this is the case remember the adventure can be completed without riding White Lightning (or any coaster). White Lightning is the only wooden roller coaster in Orlando that is a throwback to the early days of coasters at places like Coney Island. If you’re not used to riding wooden coasters, part of the “character and charm” of them is that they can be a bit more bumpy than a similar steel coaster, so in scout lingo, “be prepared” (however White Lightning is one of the smoothest wood coasters out there).



The park’s two other coasters are Freedom Flyer and the kiddie coaster Sea Serpent. Either of these could be easily substituted for the adventure to allow the kids to experience some of the forces mentioned in the guide. There are two versions of the guide below, the simple version is only 5 pages with a couple of patent images and the pool noodle activity while the complete version has two complete roller coaster patents. Been on the lookout for Fun Spot’s periodic “Scout Days” which would be an excellent opportunity to complete this adventure. Scout Days include unlimited rides, pizza, the build your own roller coaster activity, an egg drop challenge and a patch for the great price of $36. Please contact the park’s group sales department for more information about Scout Days, the roller coaster STEM activity, group packages or group rate tickets.





This plan is “unofficial”, but Fun Spot has reviewed it and has given permission for use of their logos and information. This guide has not been reviewed by Scouting America, but has been made by a fellow scout leader who is also an engineer with the best intentions to meet the Arrow of Light Engineering Adventure requirements. Please feel free to adapt this guide for your group of cub scouts or your unique situation, but most importantly have fun!
Engineering Adventure at Fun Spot Orlando Complete (optional)


